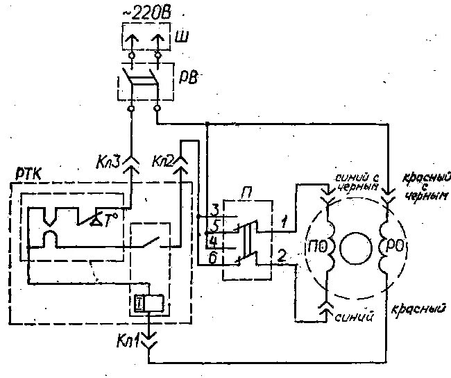
Ртк подключить