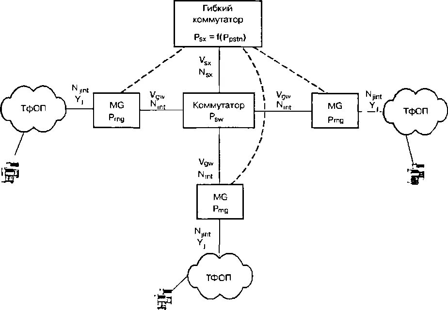
Сеть тфоп