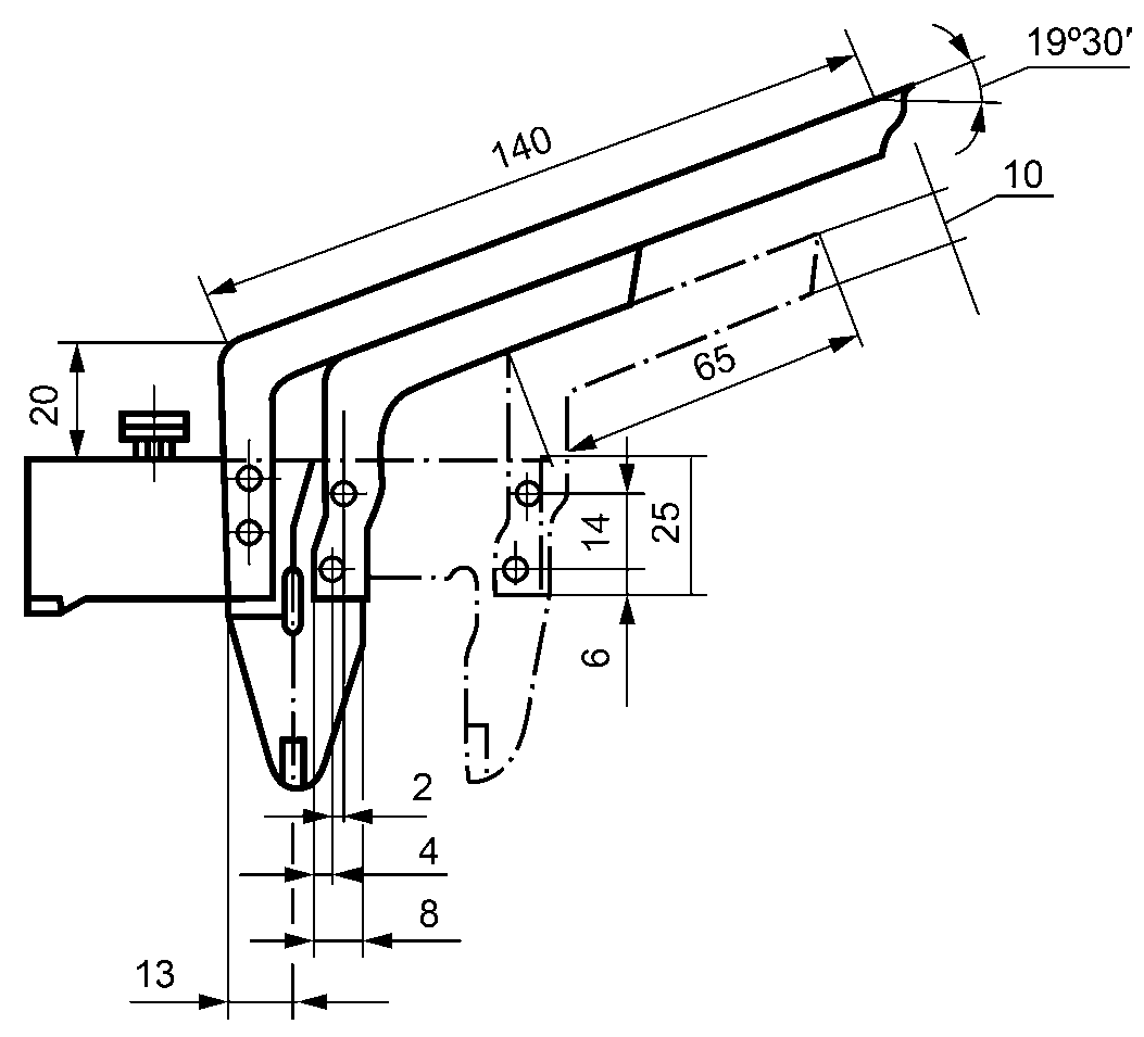
Шаблон для определения лещадности щебня