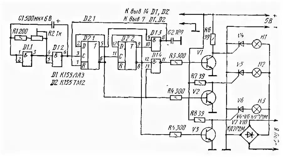
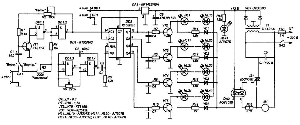
Схема 30 элементов