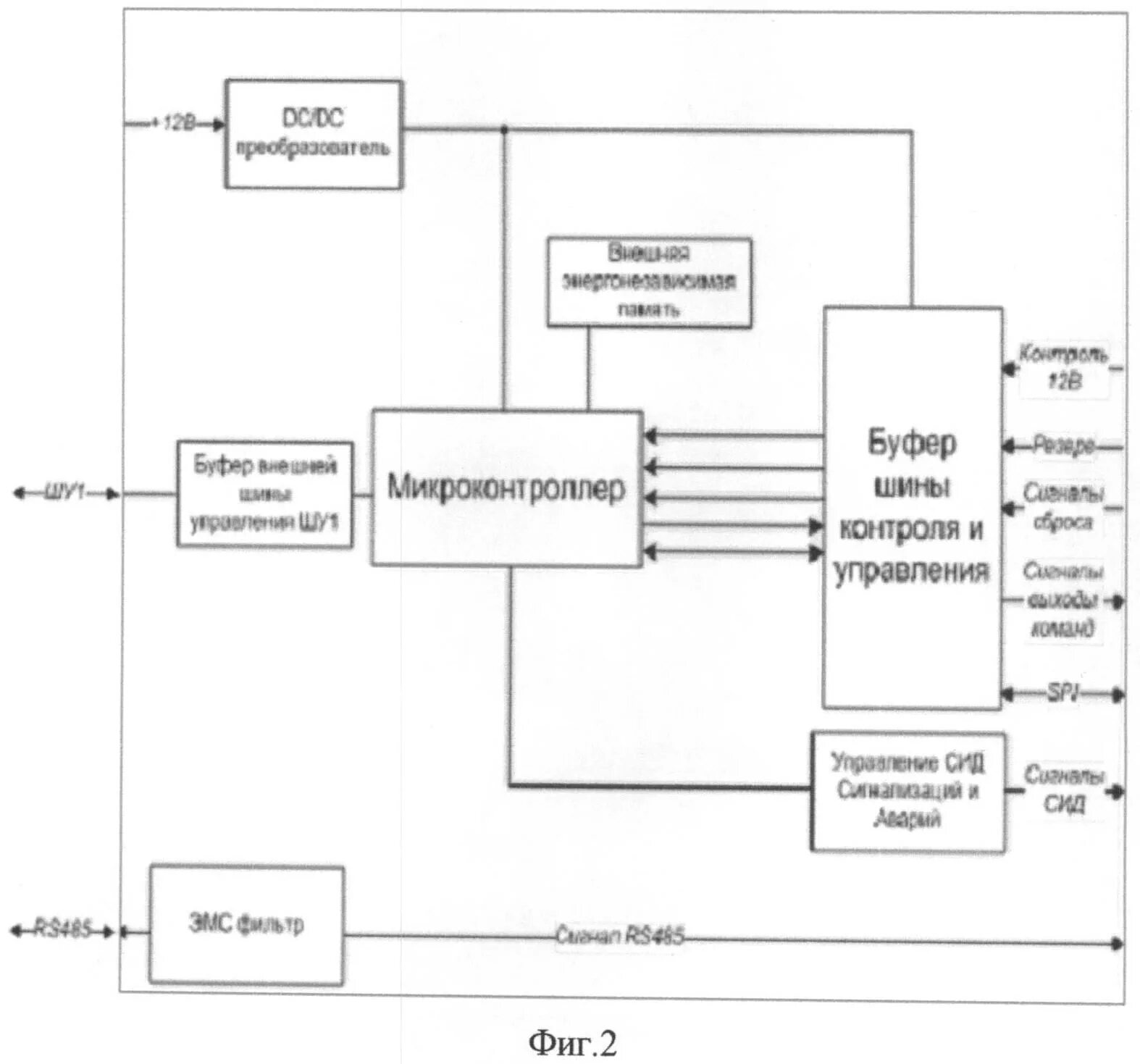
Схема контрольного управления