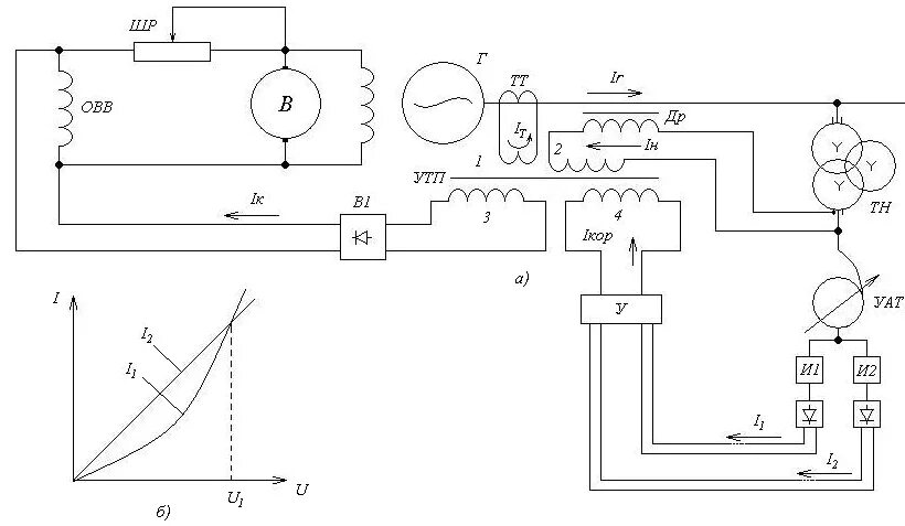
Схема однофазного генератора