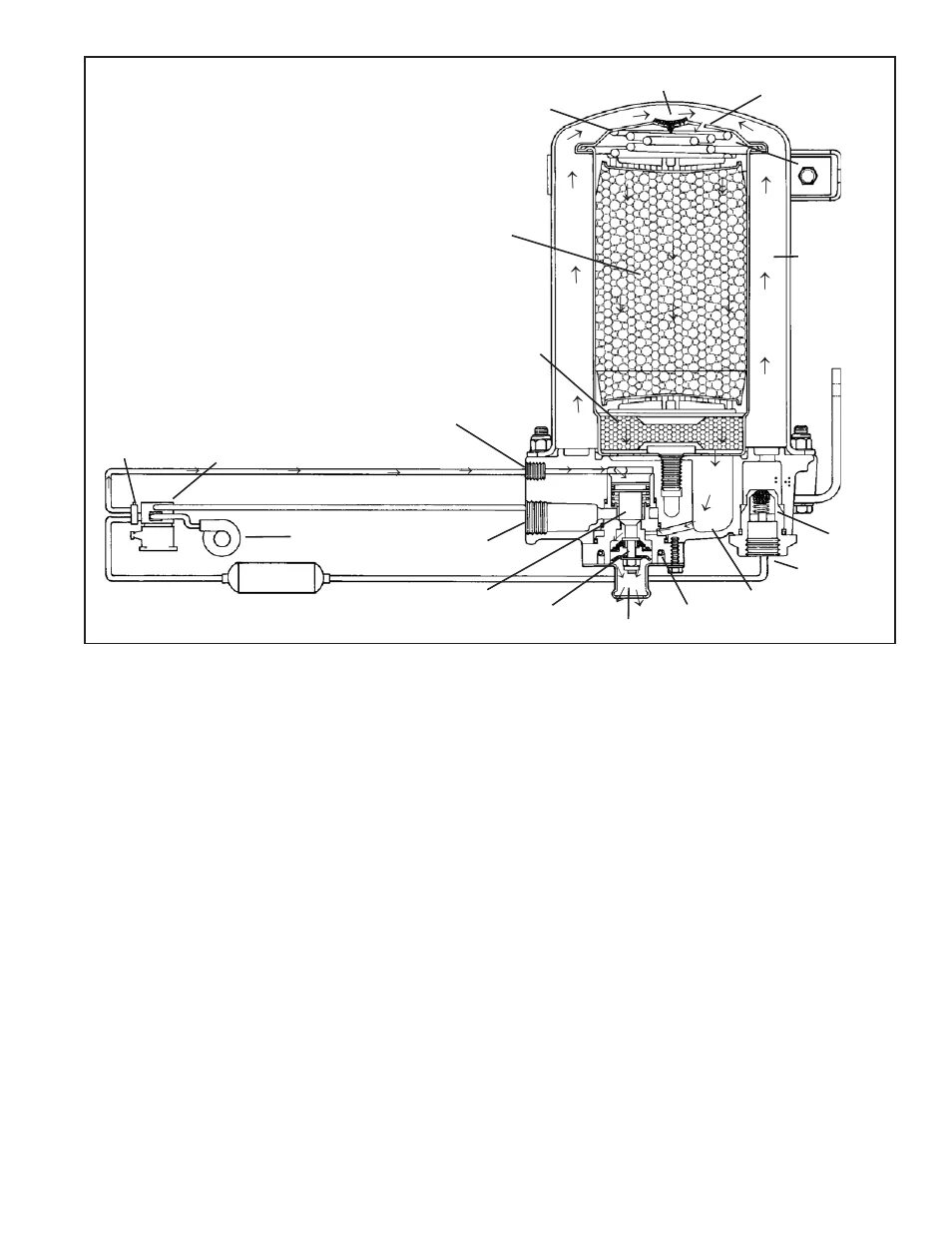
Схема осушителя