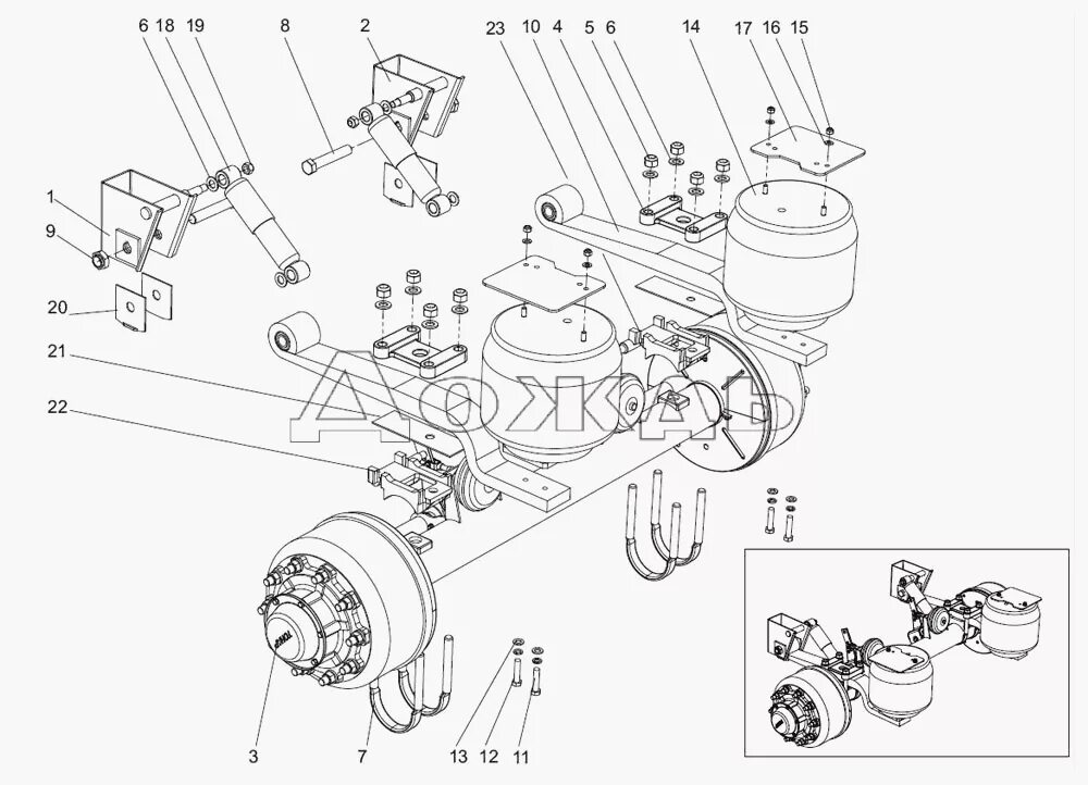
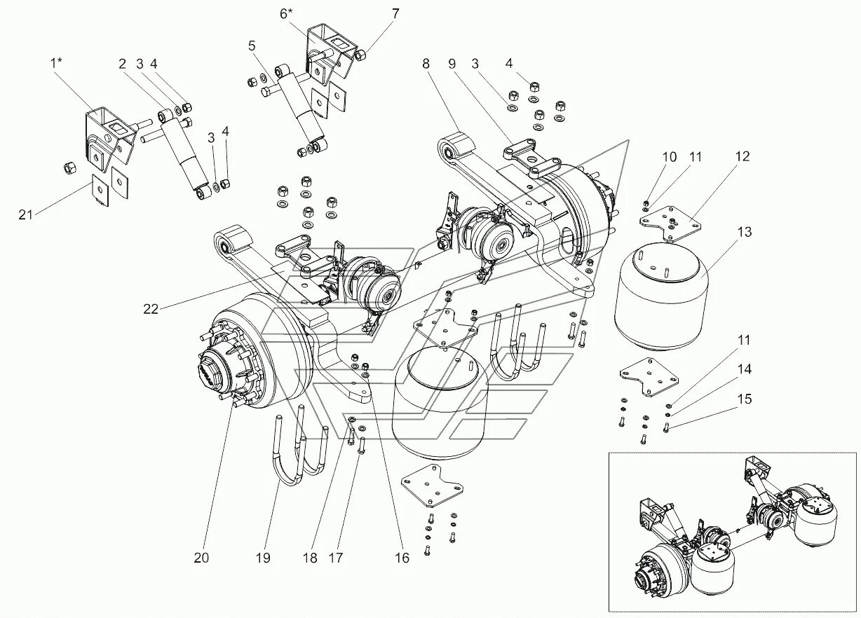
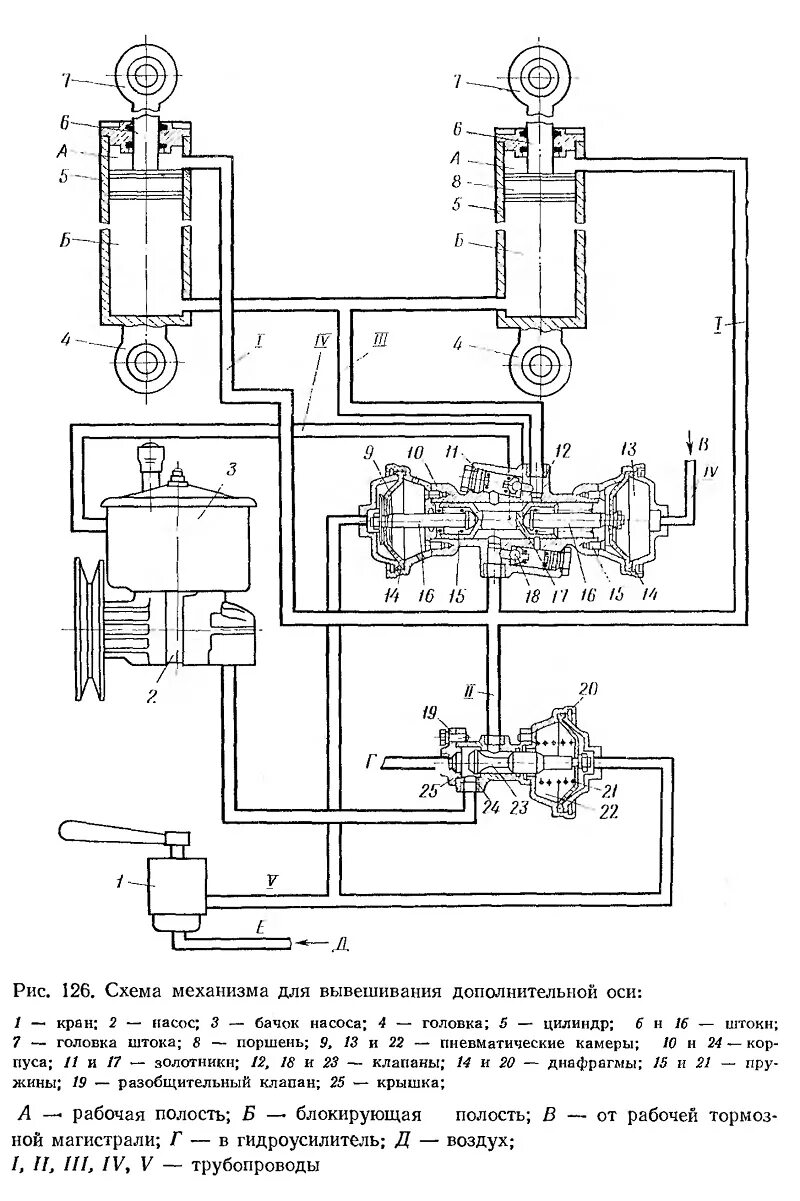
Схема подъемную ось