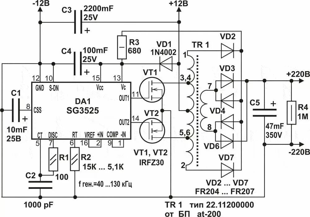
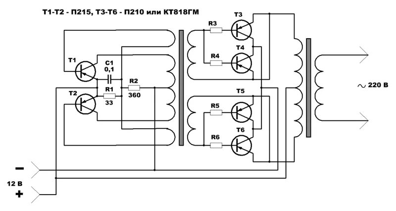
Схема преобразователя напряжения своими руками