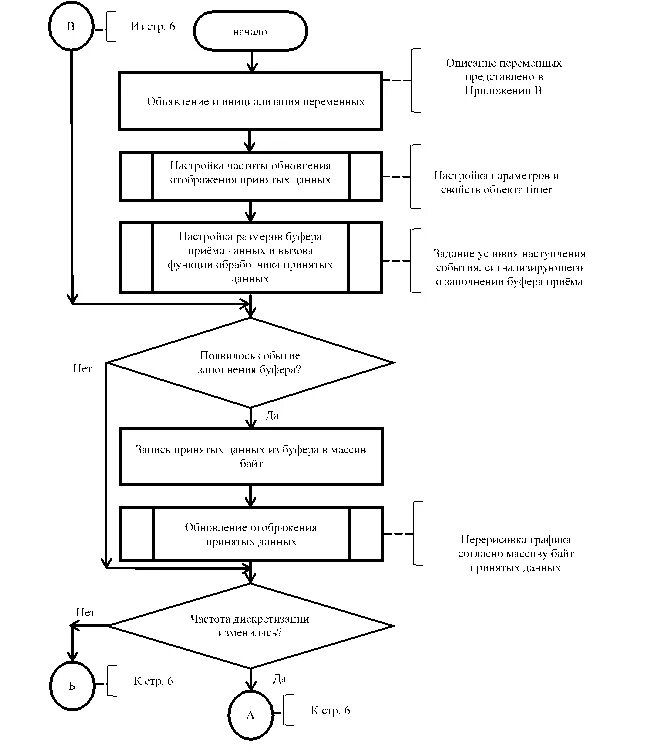
Схема программы обработки данных