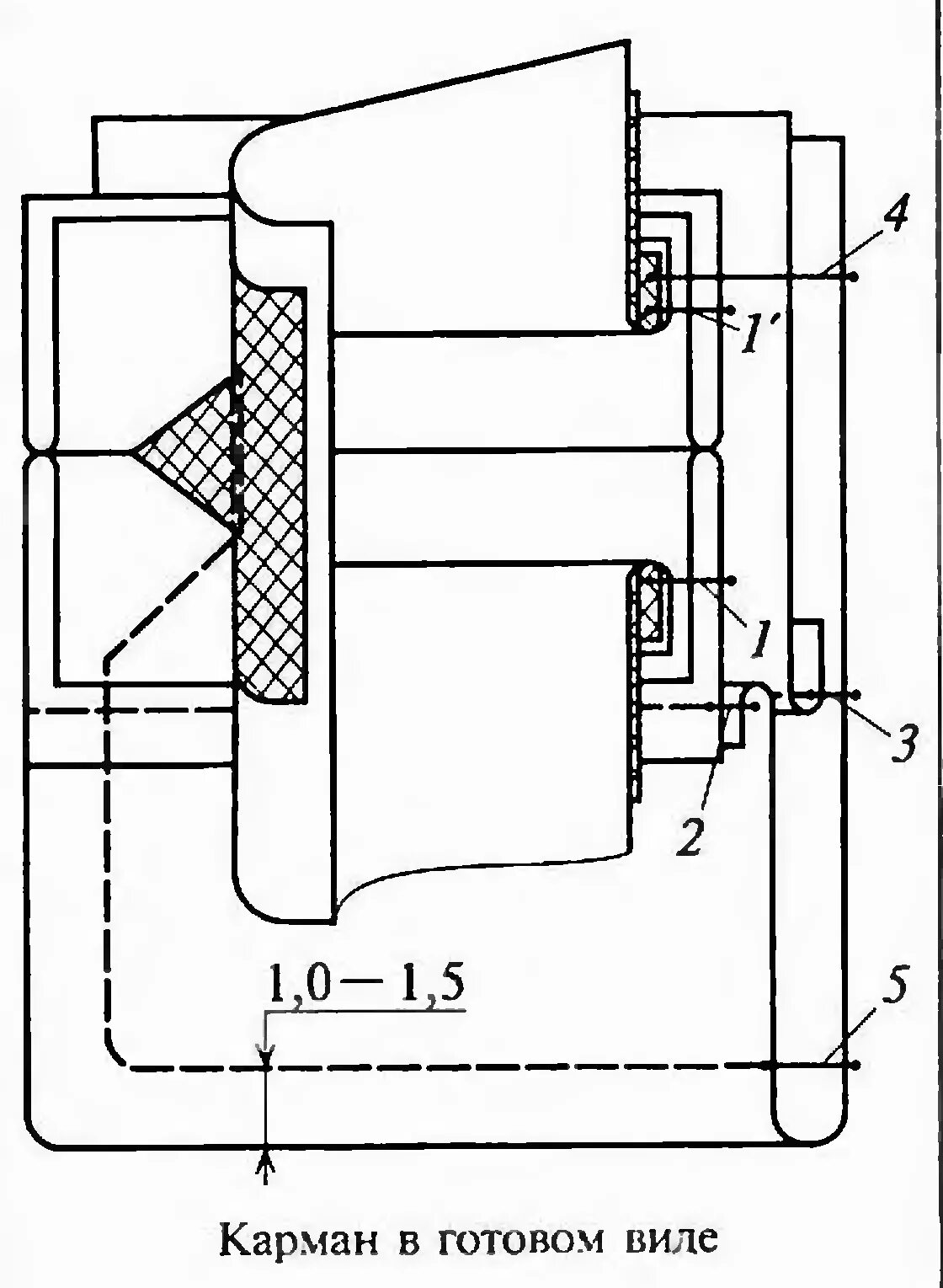
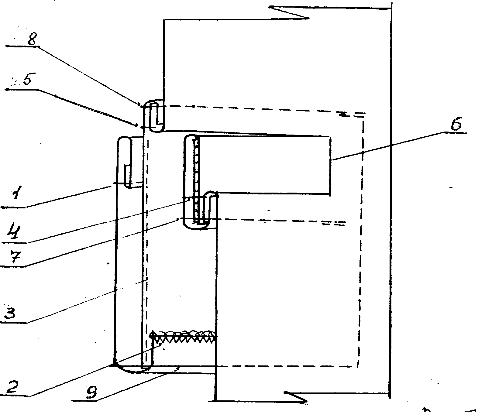
Схема прорезного кармана