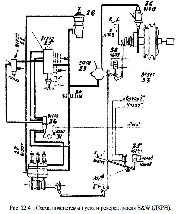
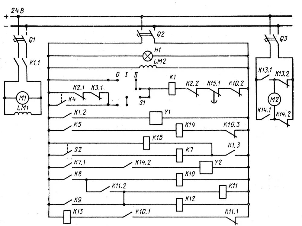
Схема пуска дизеля