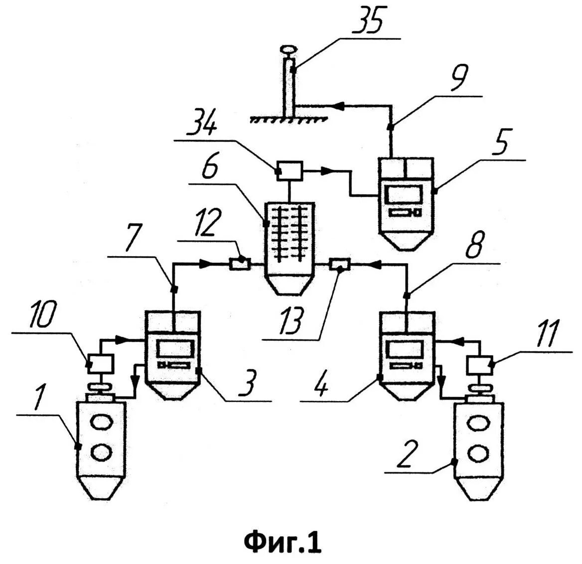
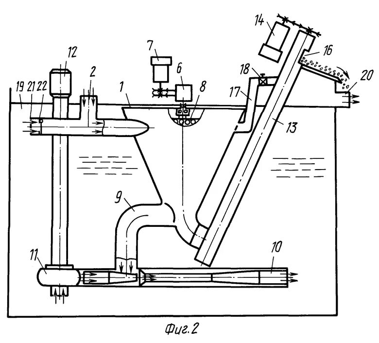
Схема раствора