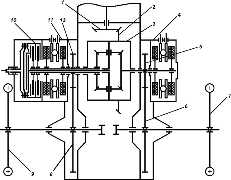
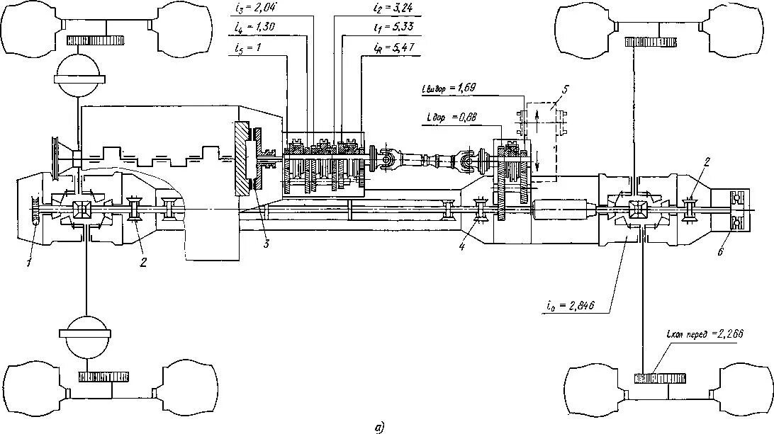
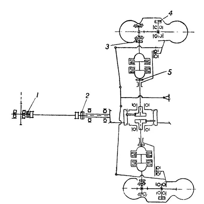
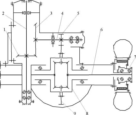
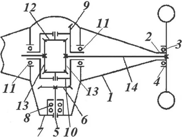
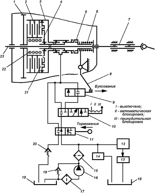
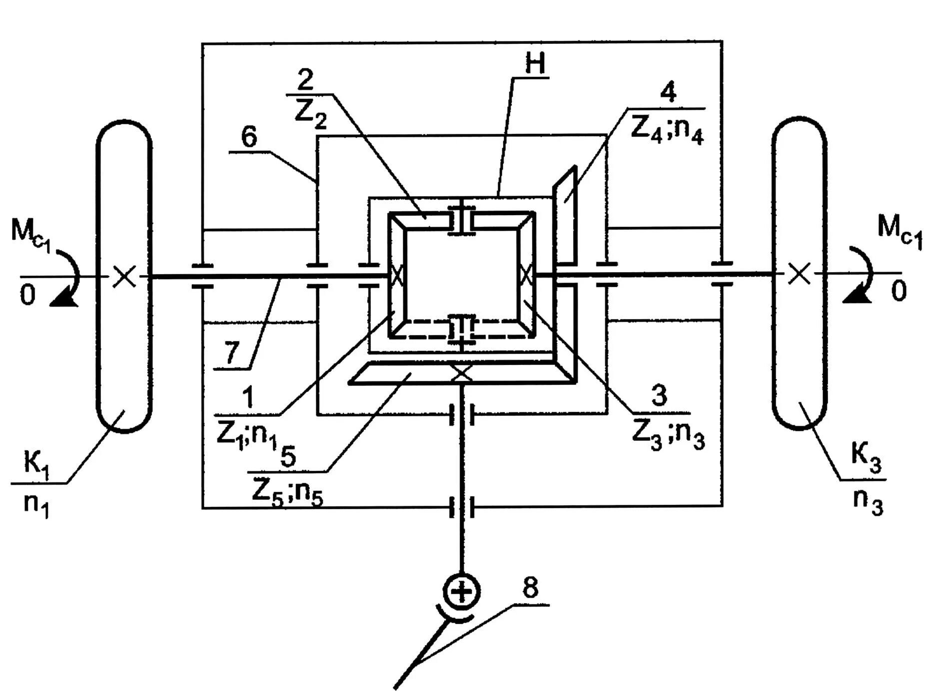
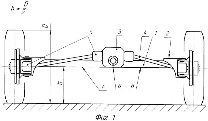
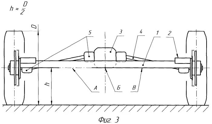
Схема ведущего моста