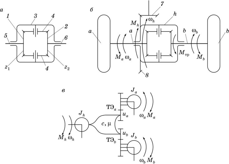
Схема заднего дифференциала