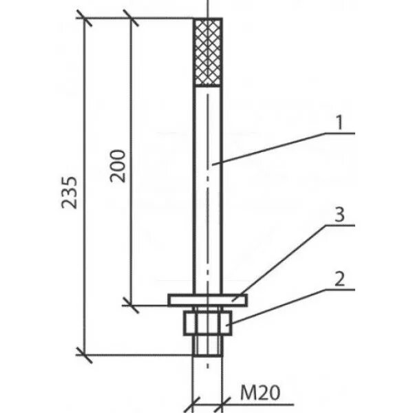
Штырь шу