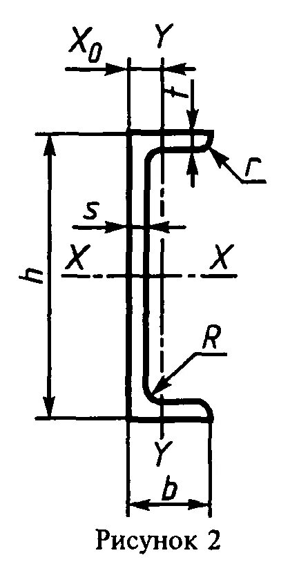
Швеллер горячекатаный сортамент