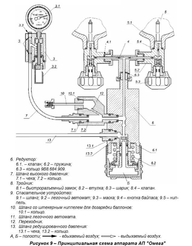
Сигнальное устройство дыхательного аппарата