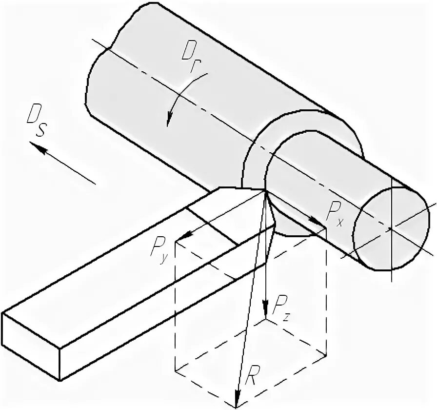
Сила резания при точении