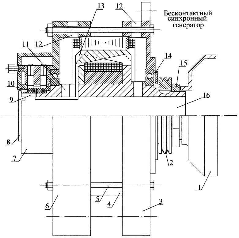
Синхронный генератор принцип работы и устройство