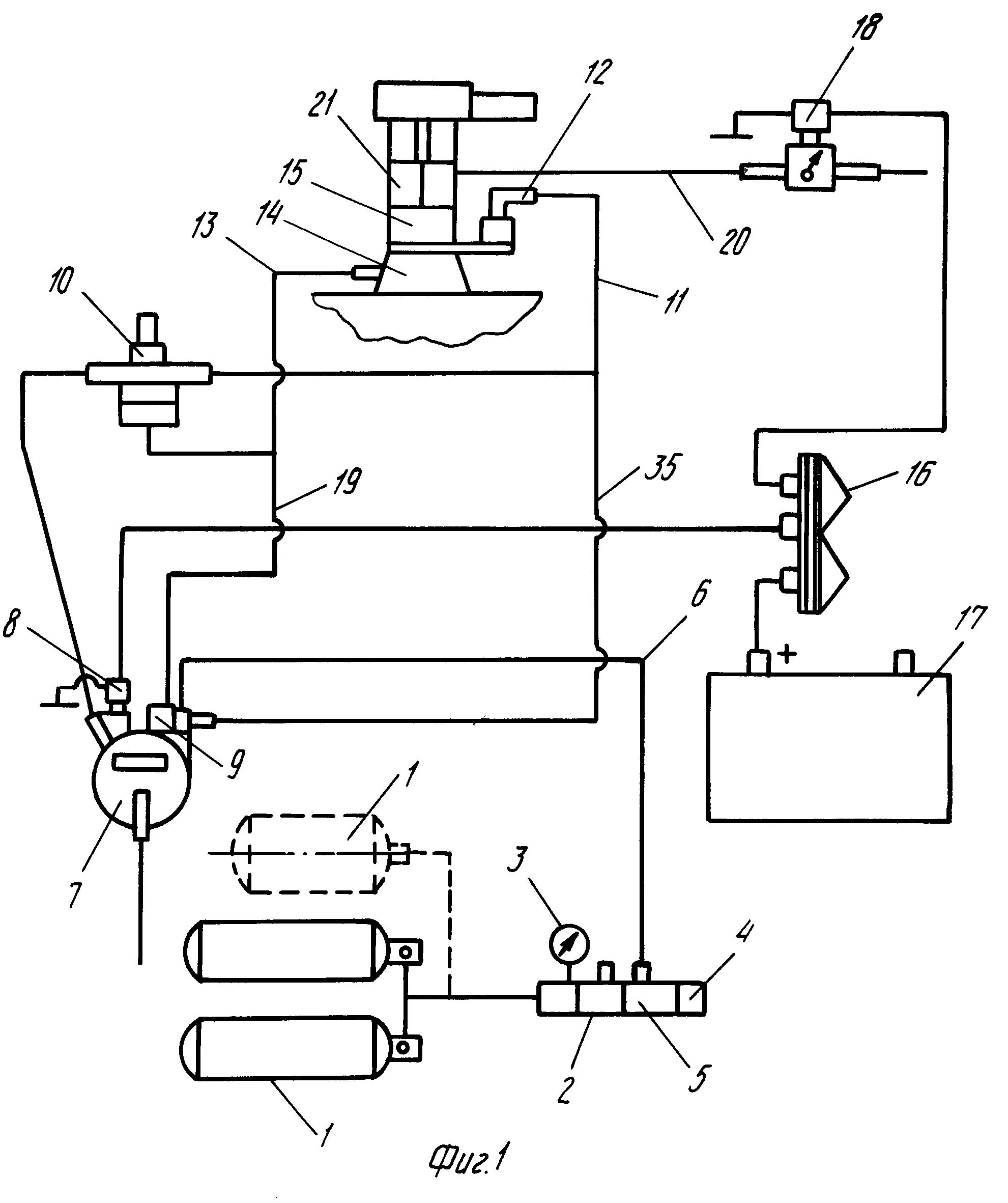
Система газового двигателя