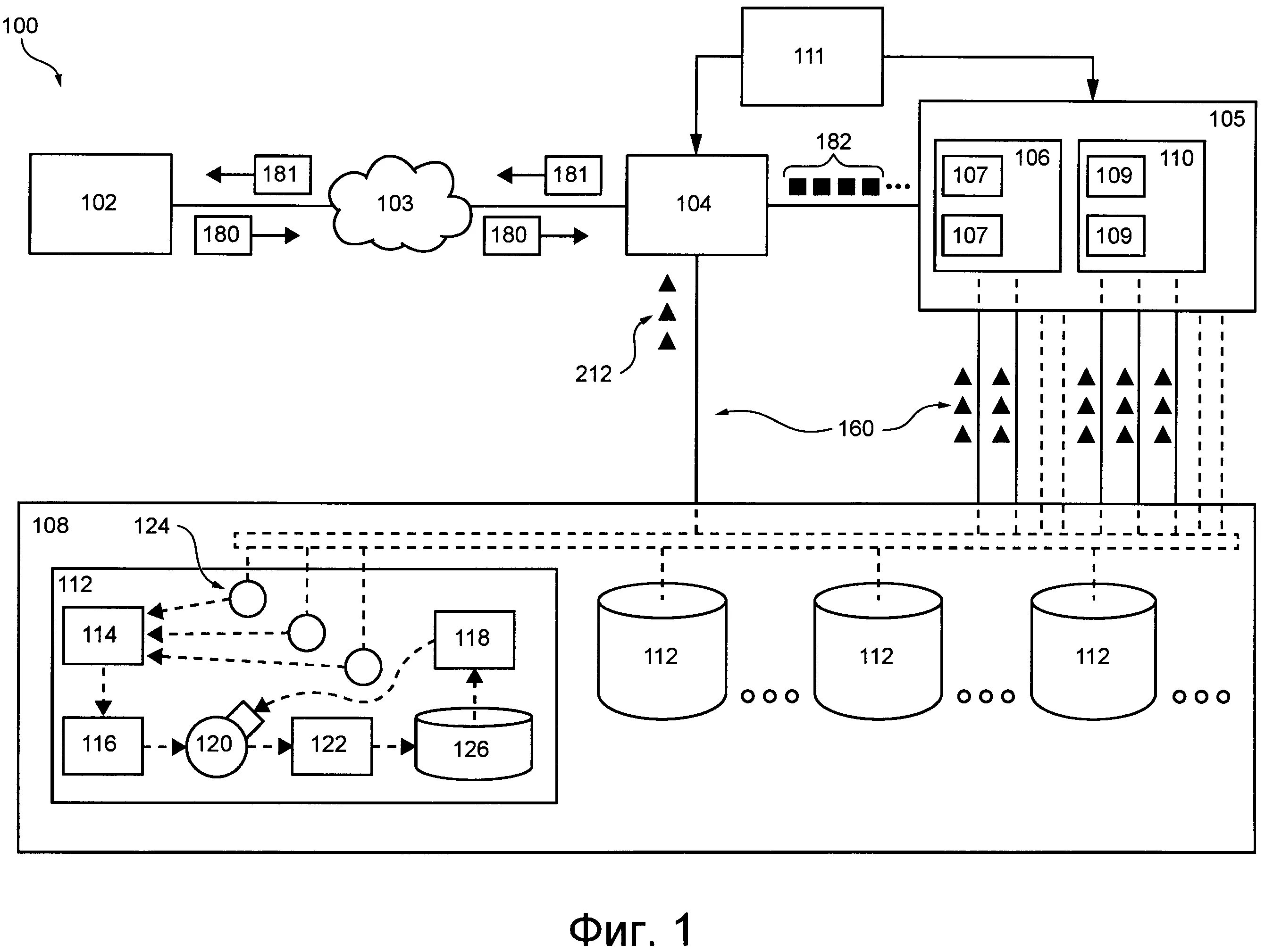
Система обработки данных c