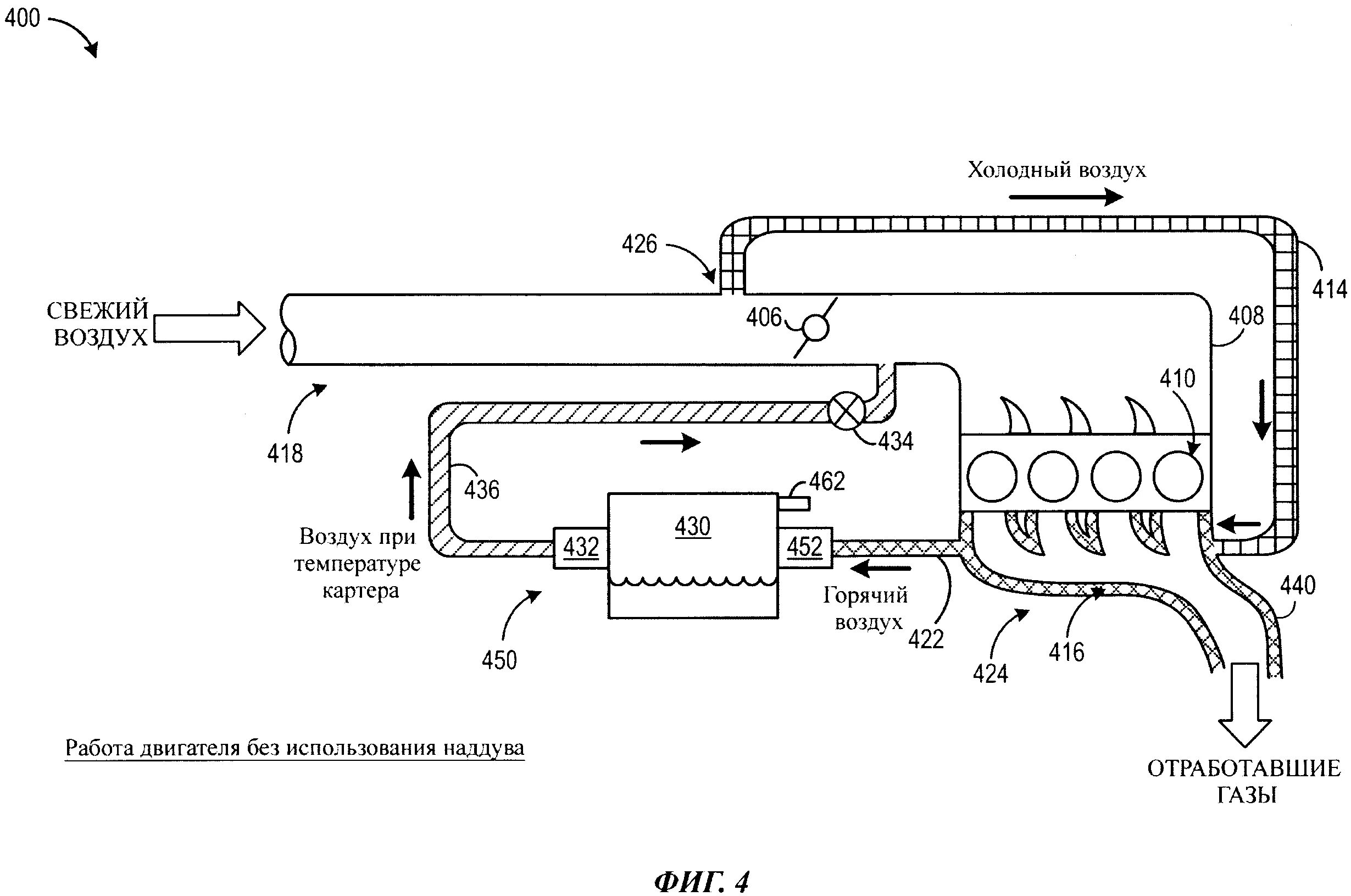
Система прогрева