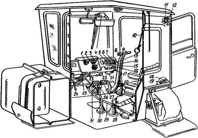
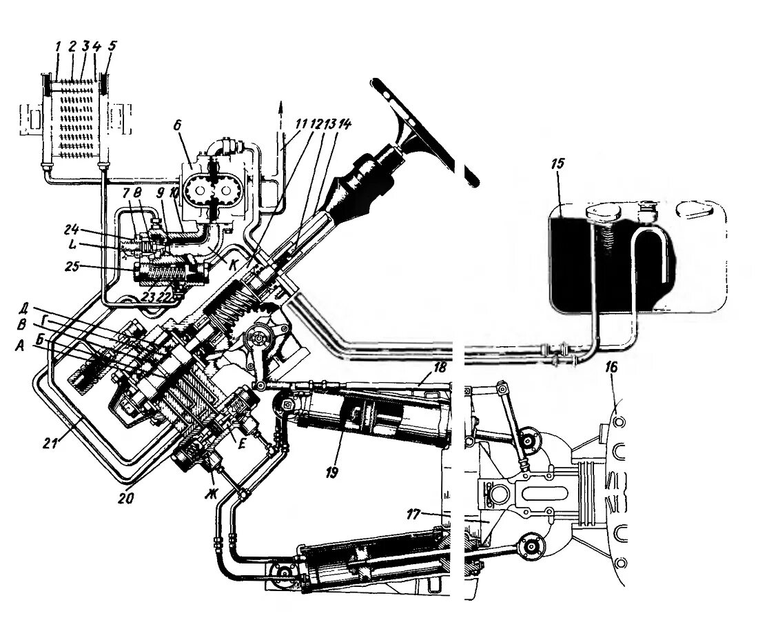
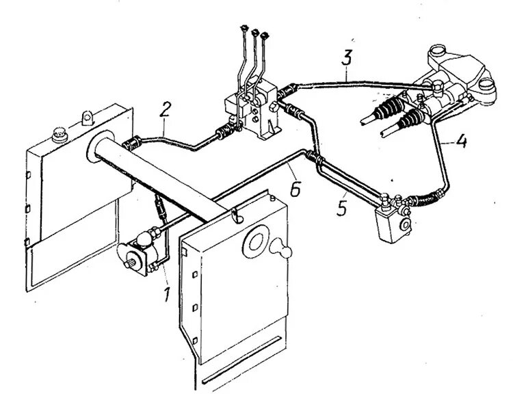
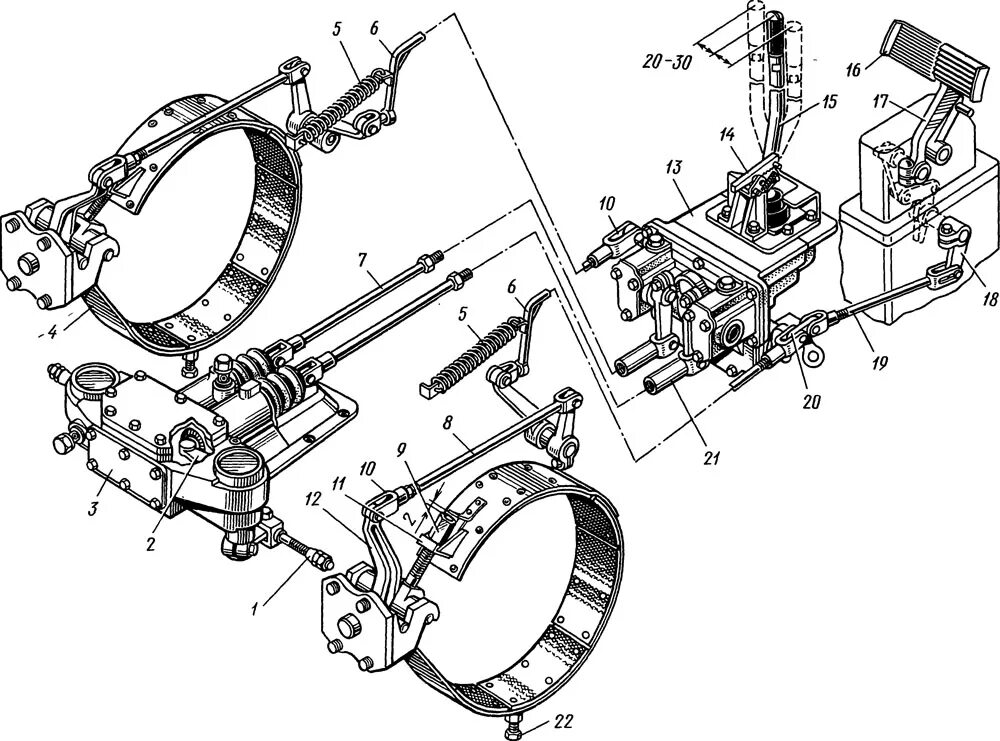
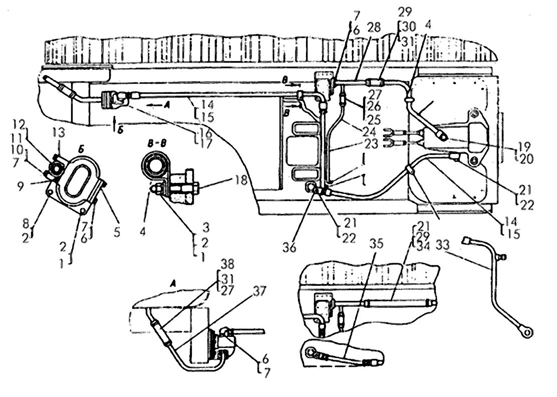
Система управления трактором