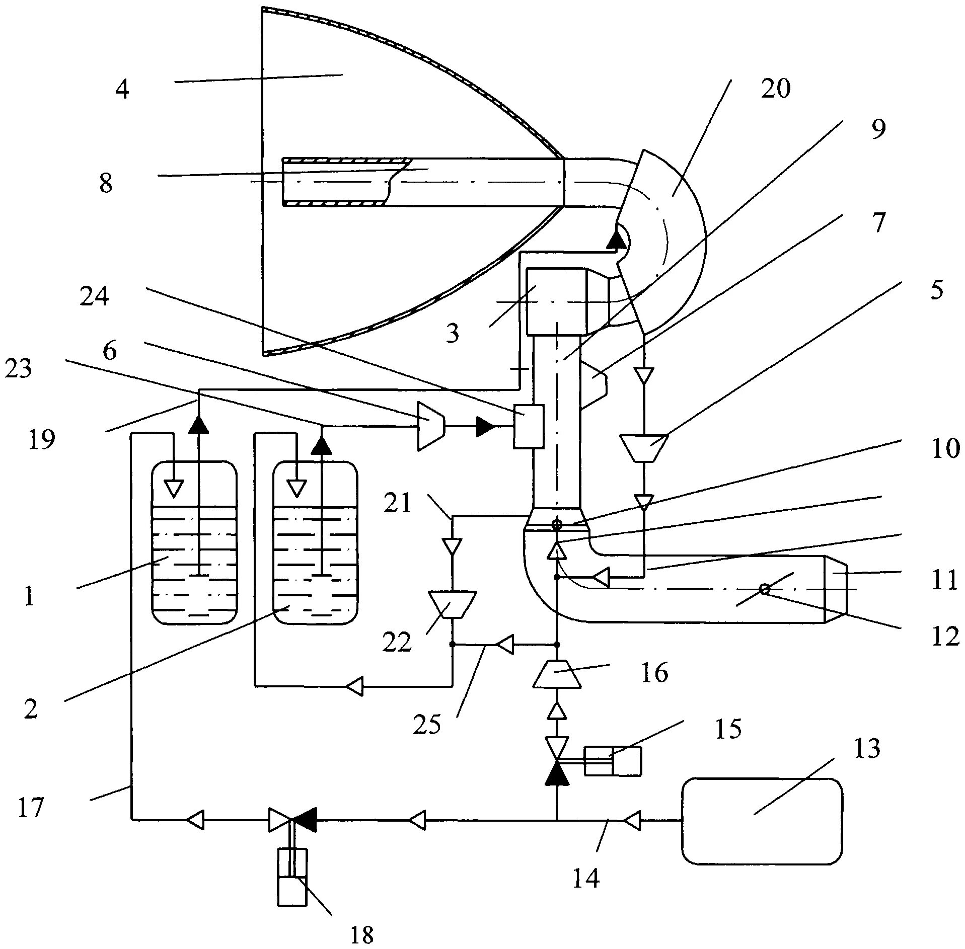
Система воздушного запуска