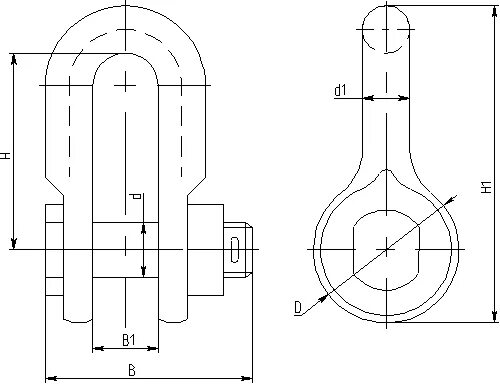
Скоба 7 1а