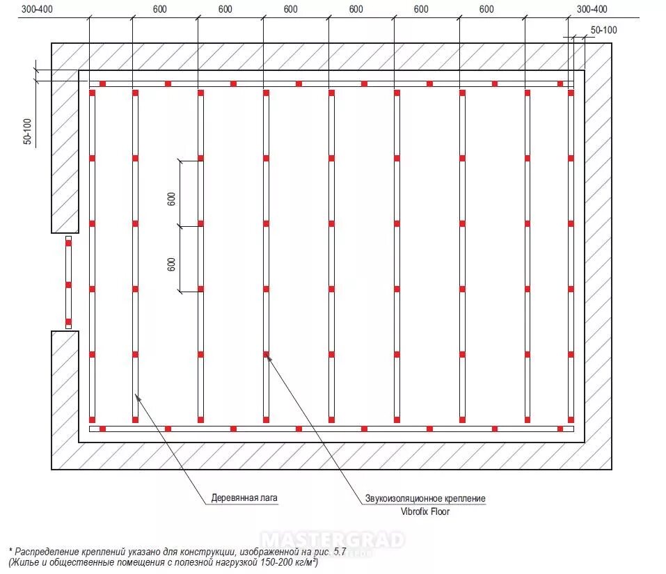
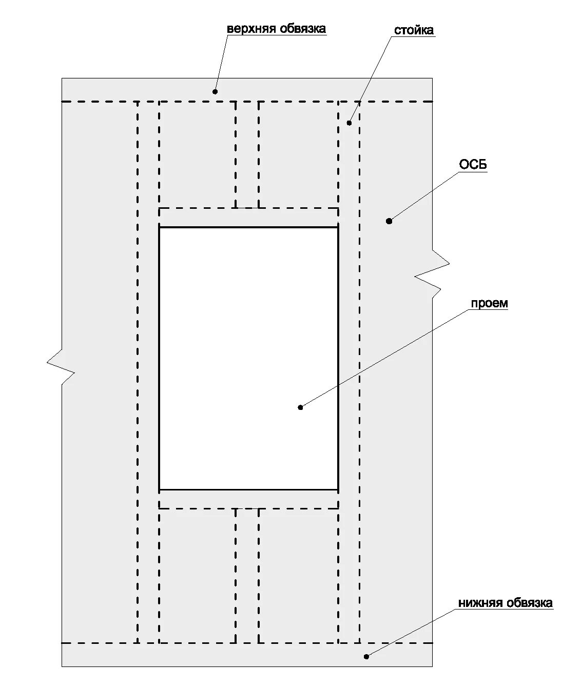
Сколько саморезов на лист осб