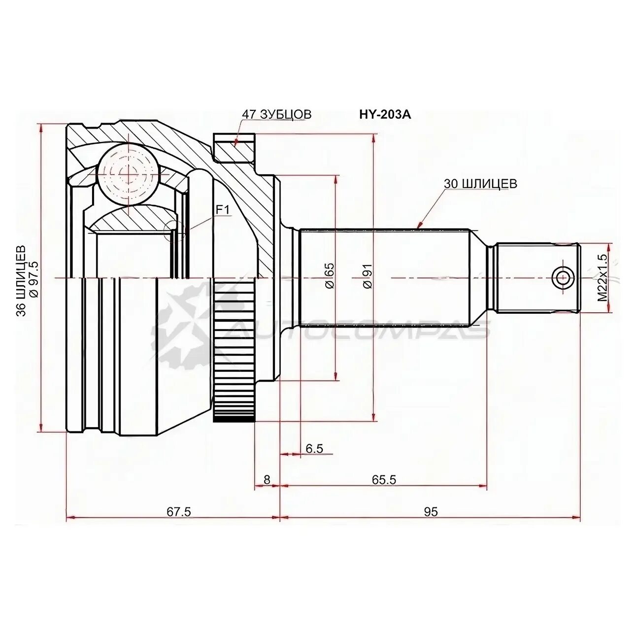
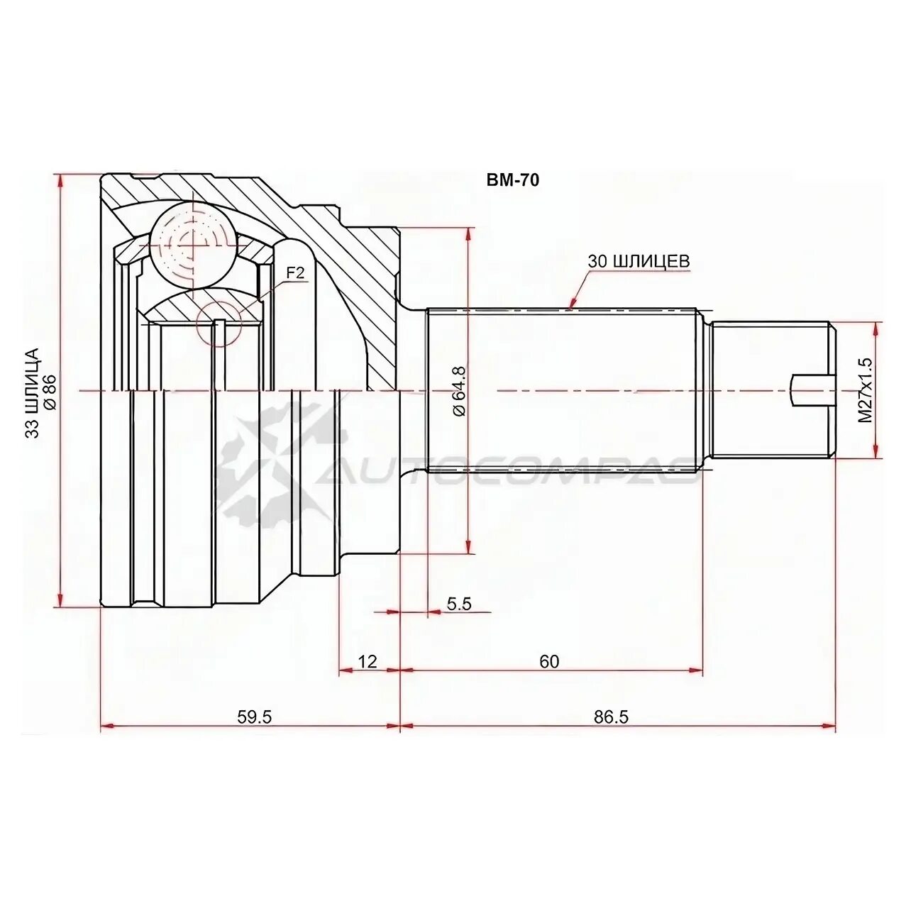
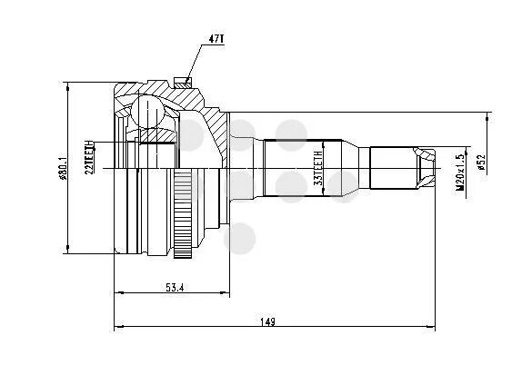
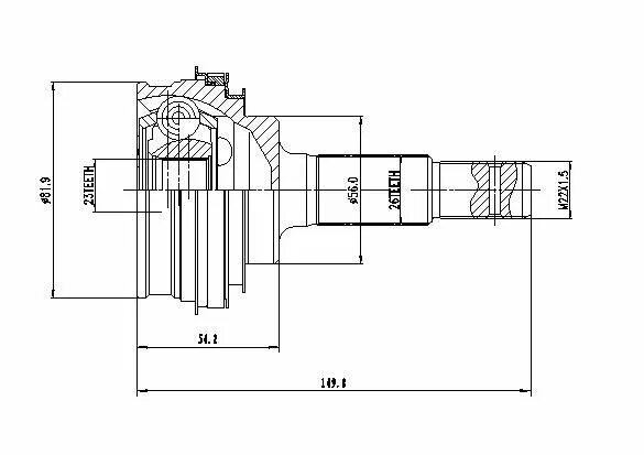
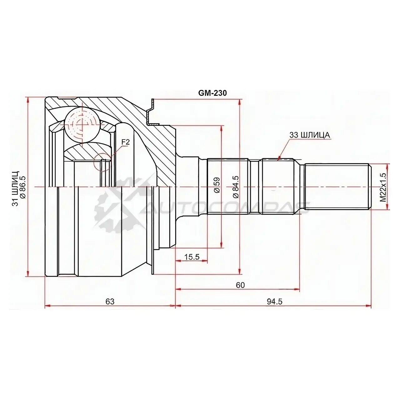
Сколько шлицов внутренних