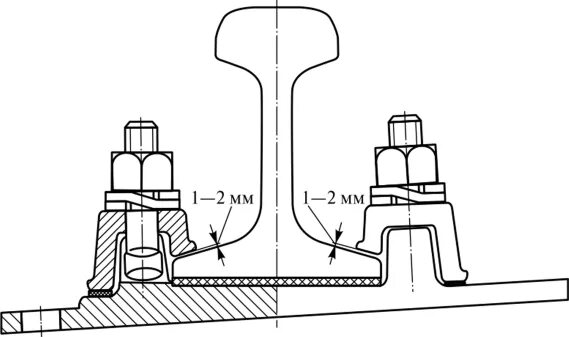
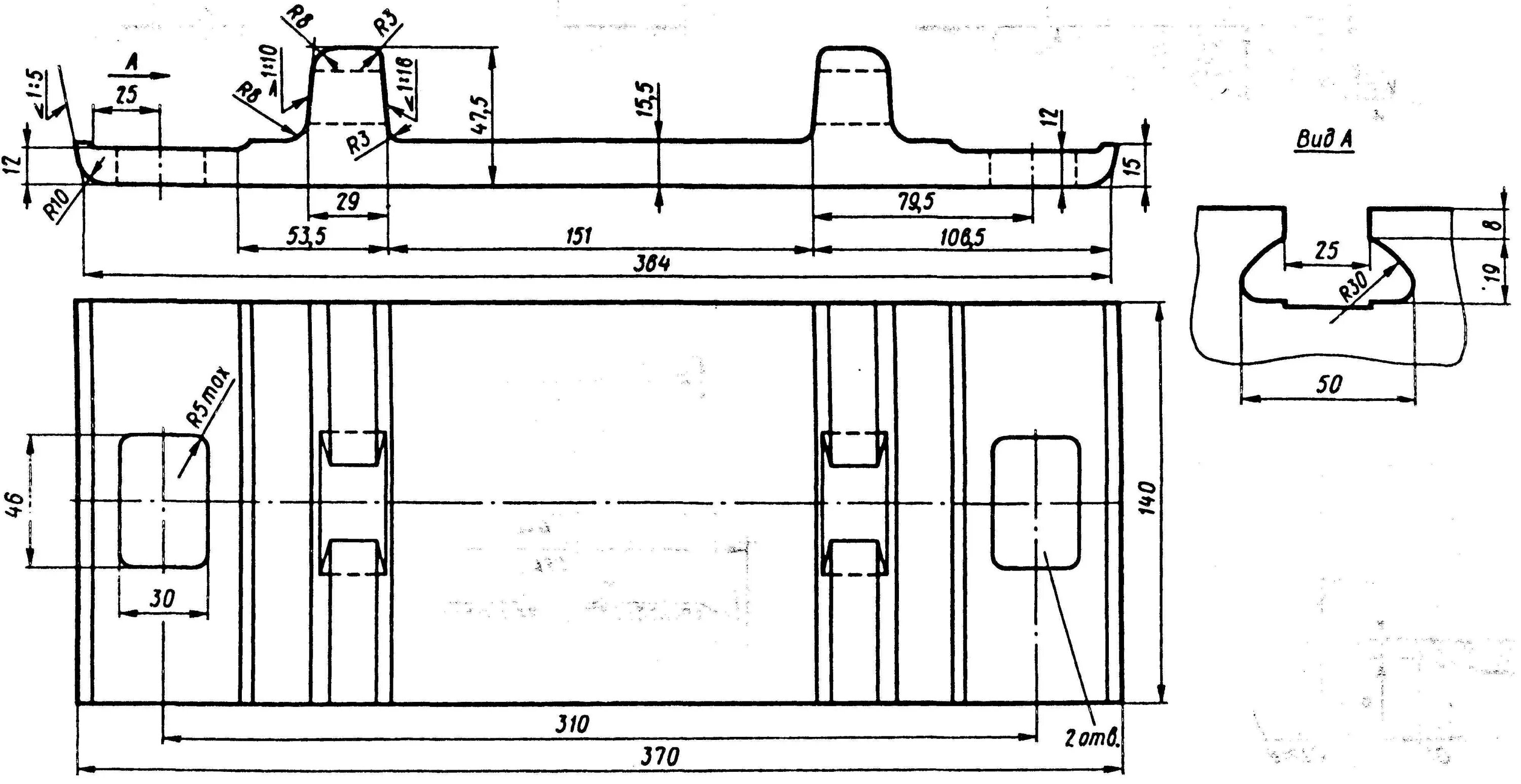
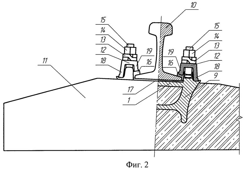
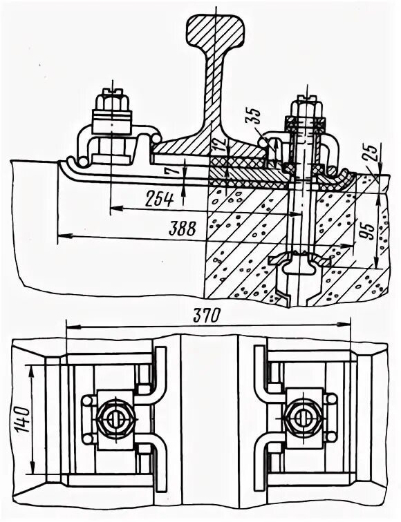
Скрепление кб 65