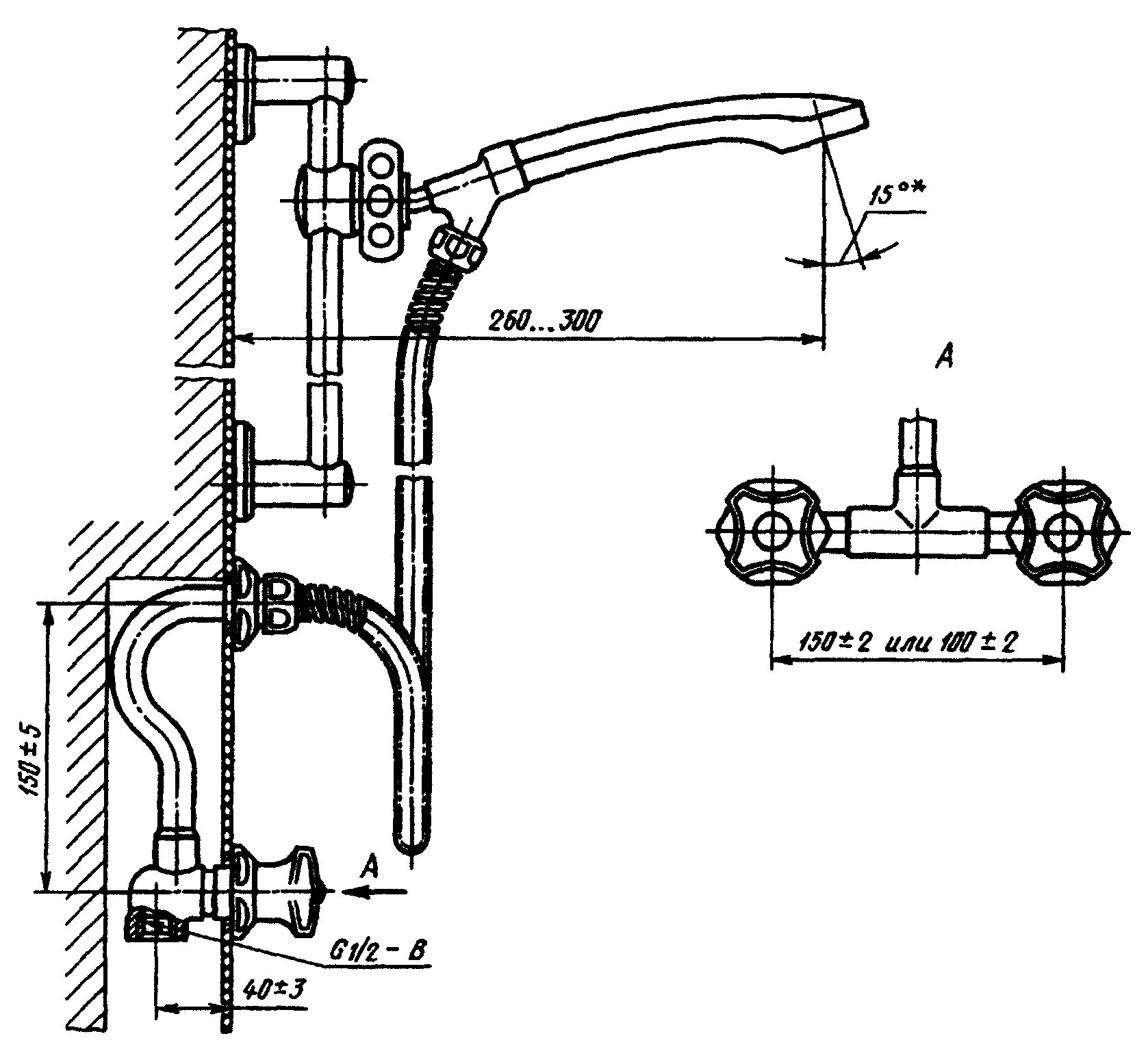
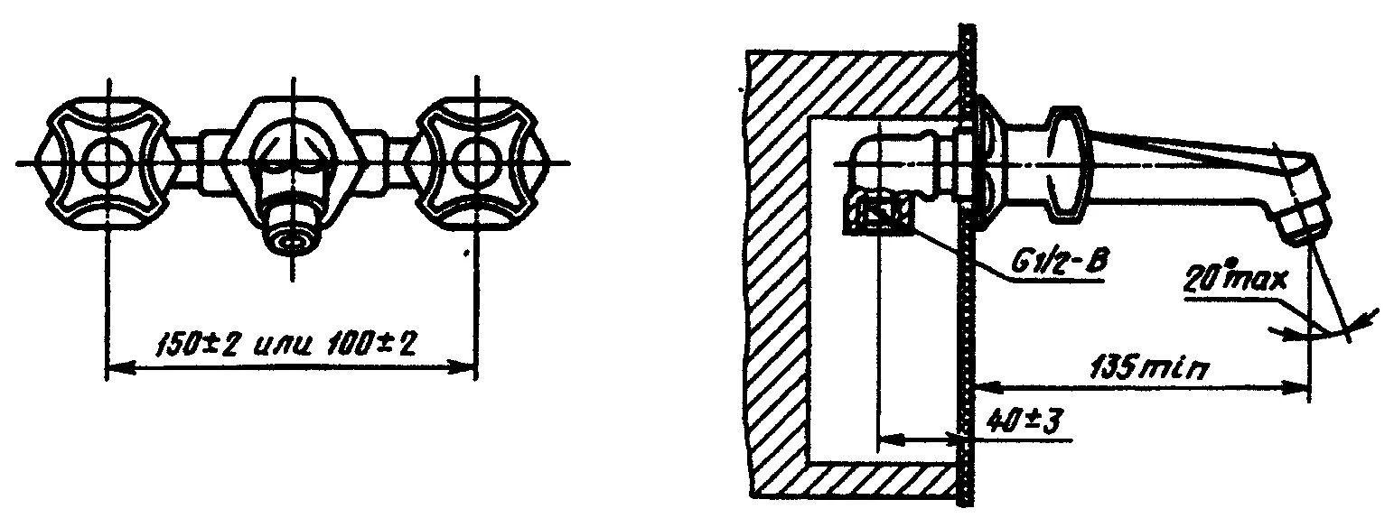
См тип