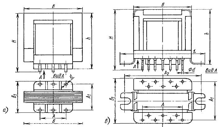
Согласующий трансформатор