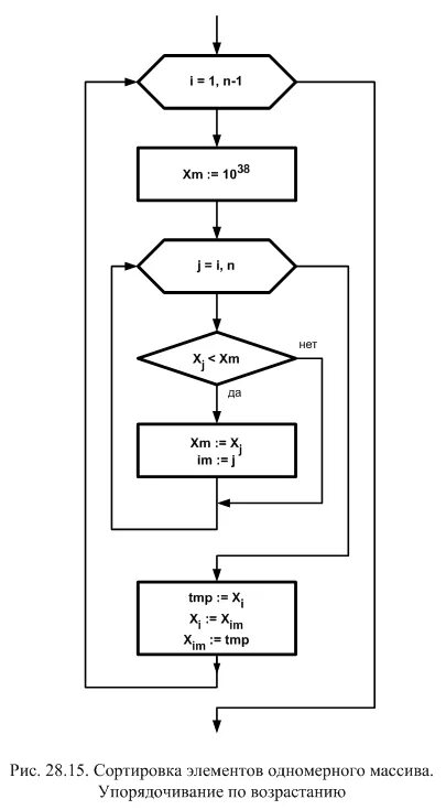
Сортировка трех чисел