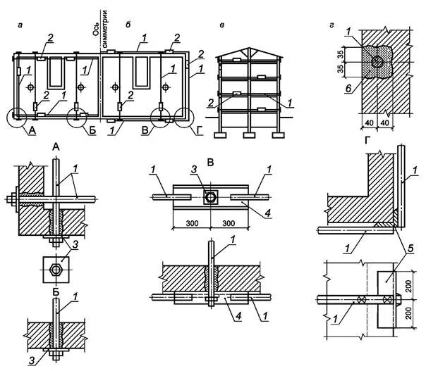
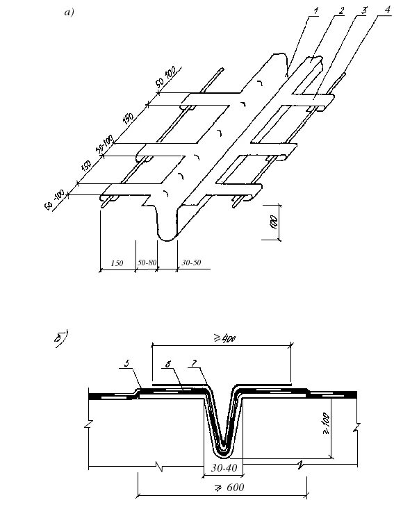
Сп 327