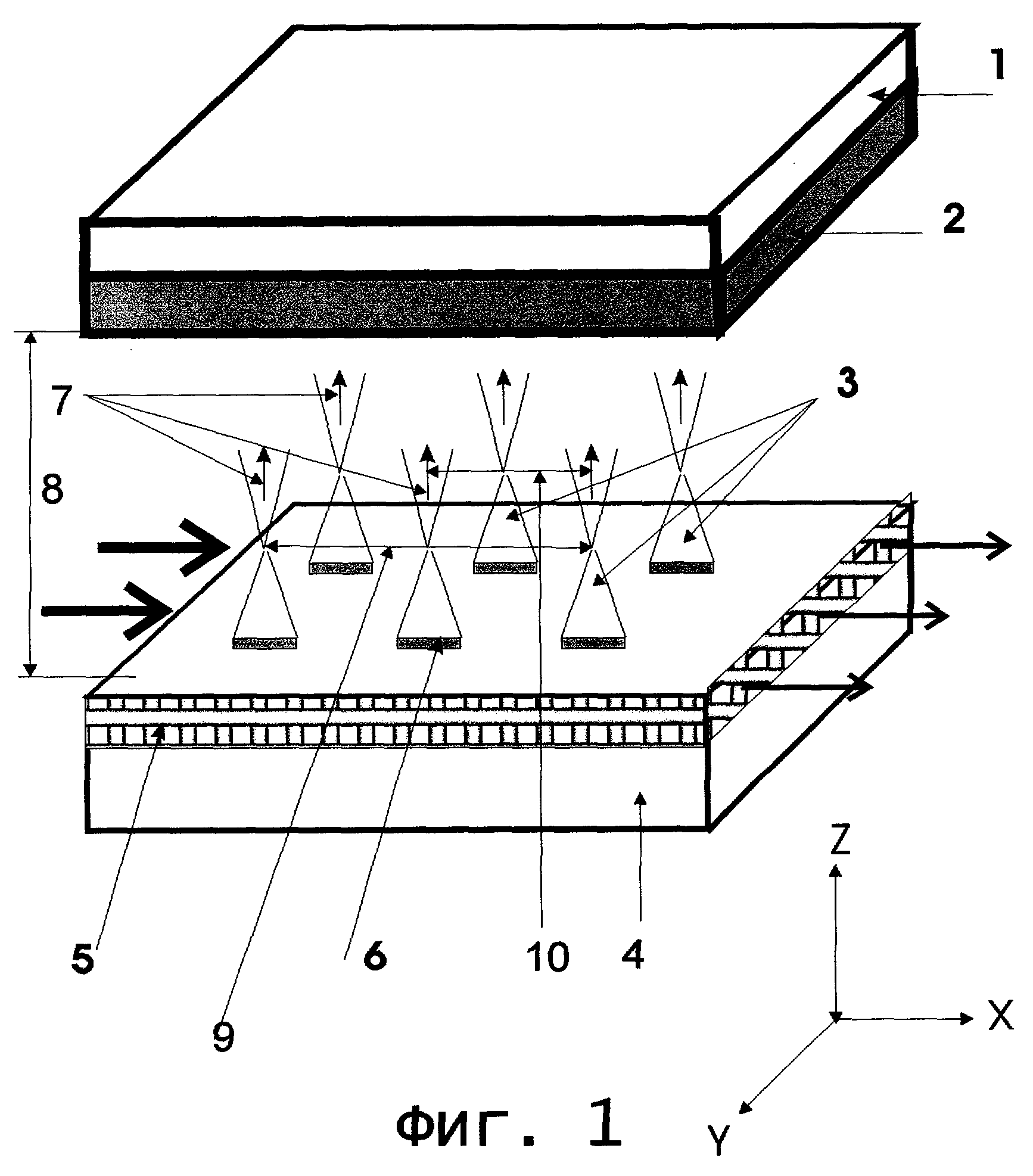
Способ получения изображения