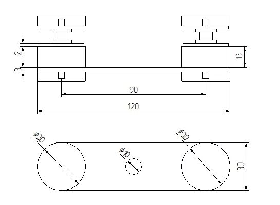
Spot fixing