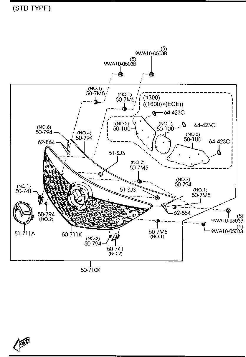
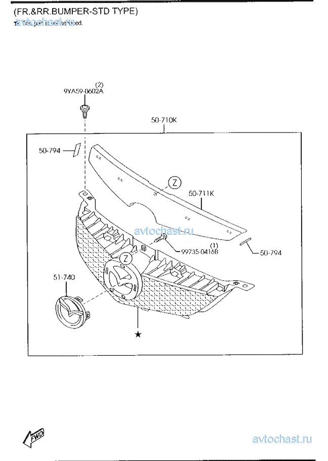
Std type