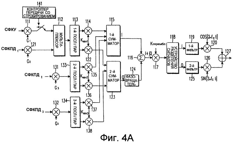
Стробирование