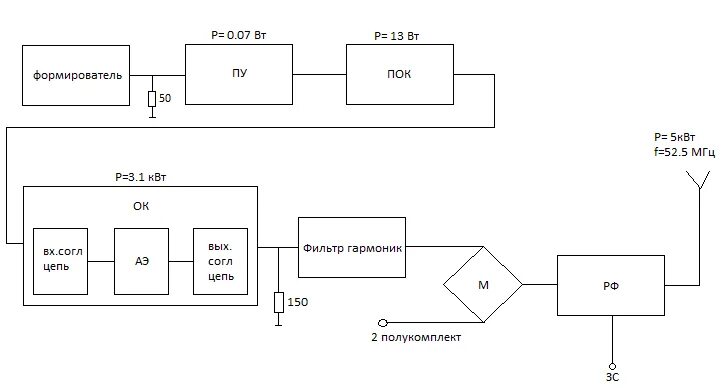
Строй тракт работа