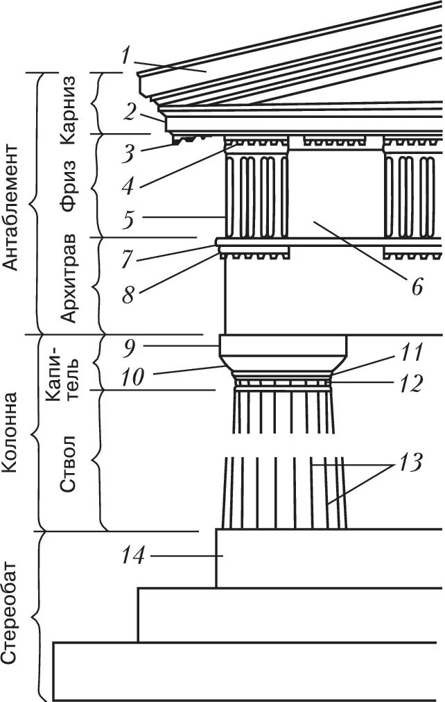
Структура ордера