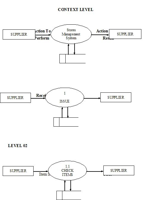
System version c