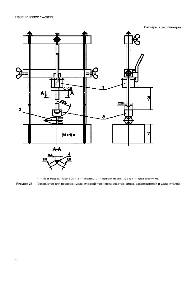
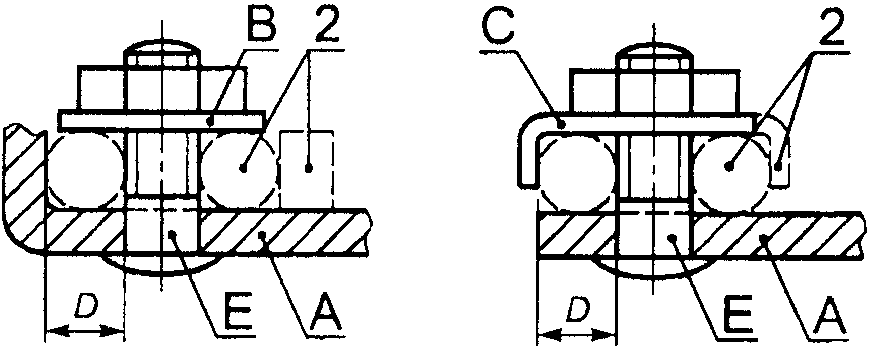
Тип 13 51322