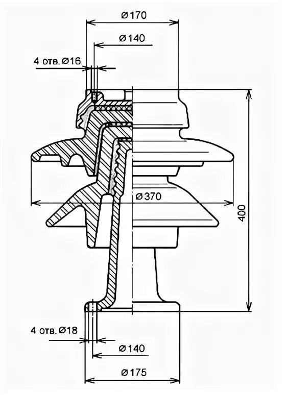
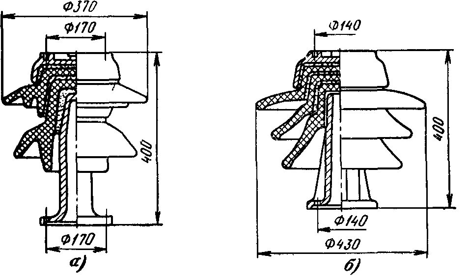
Типа шт 35