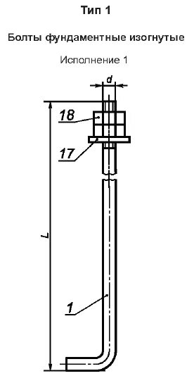
Типы фундаментных болтов