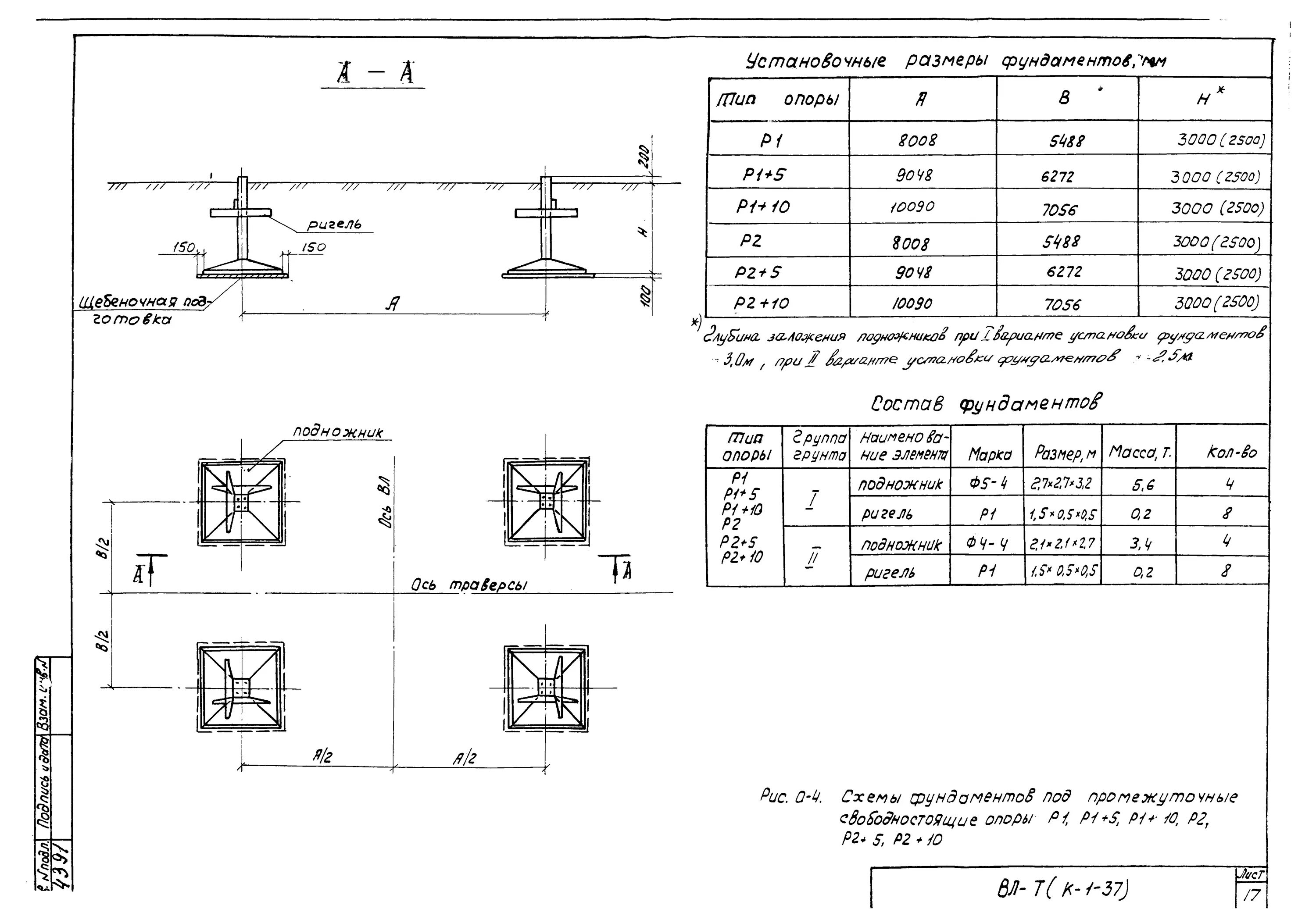
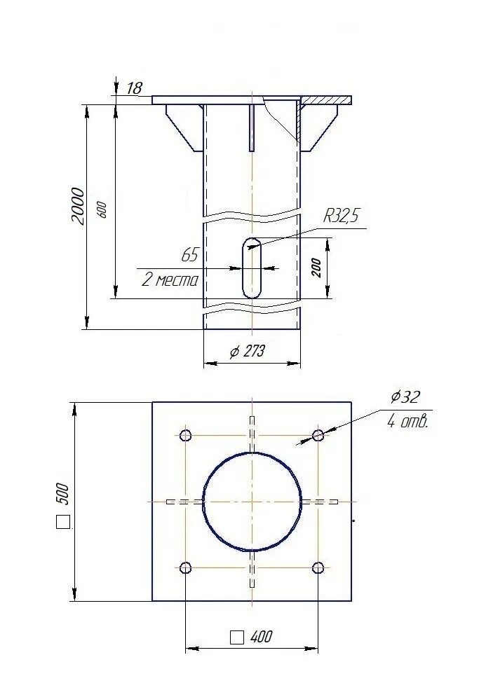
Типы фундаментов опор