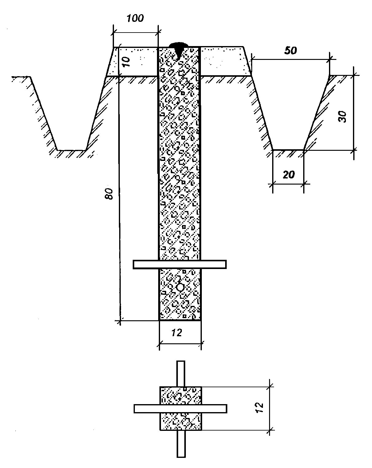
Типы межевых знаков