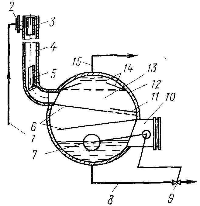
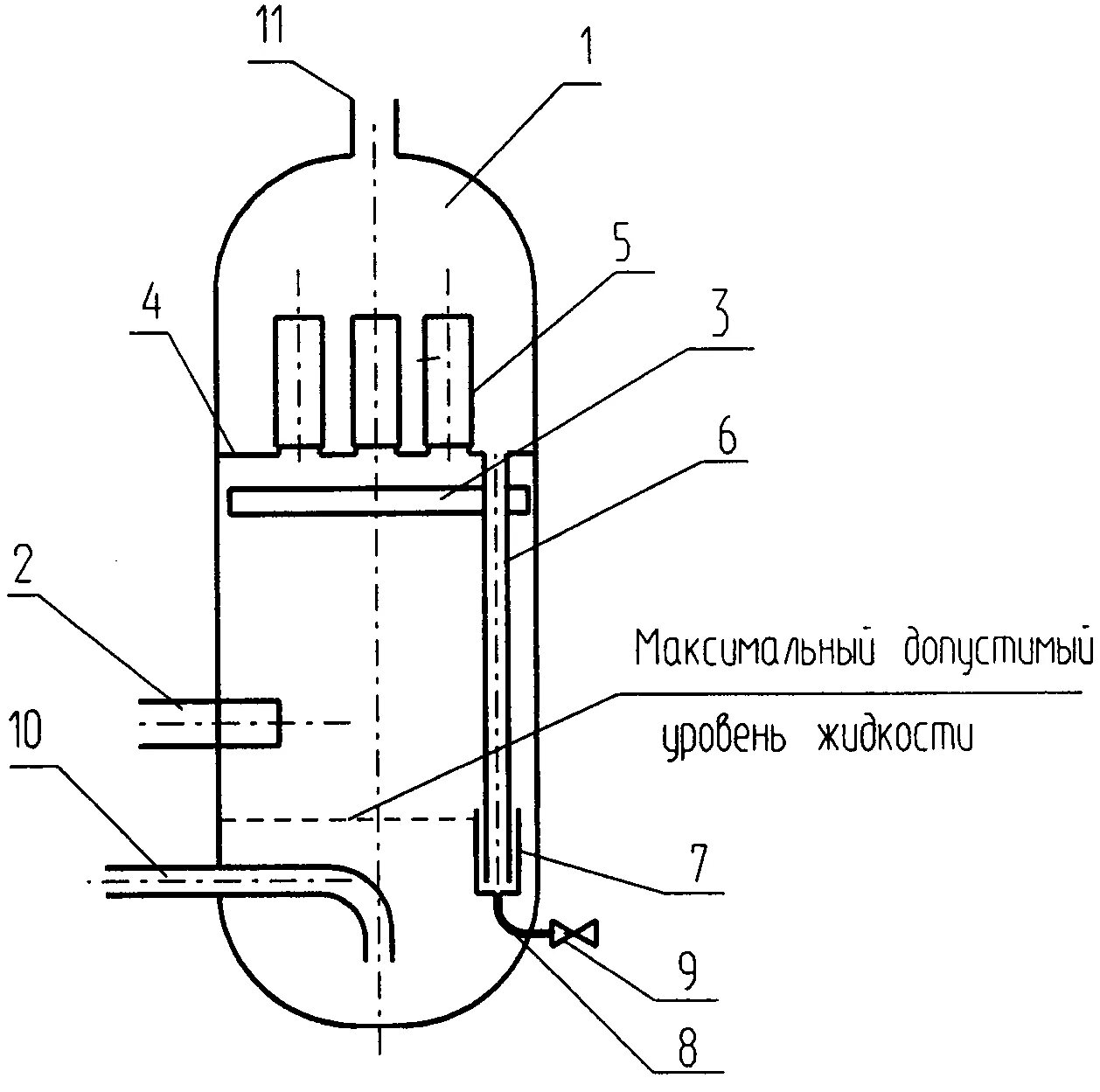
Типы сепарации