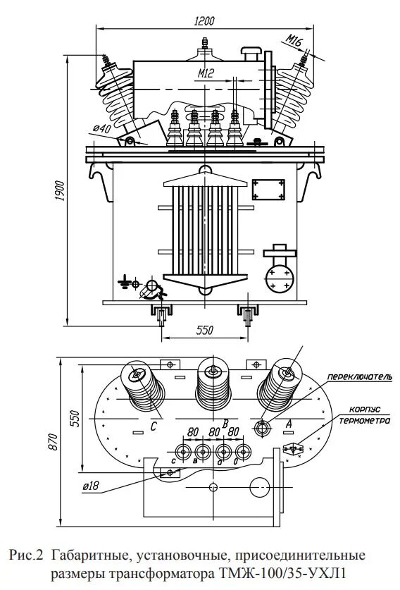
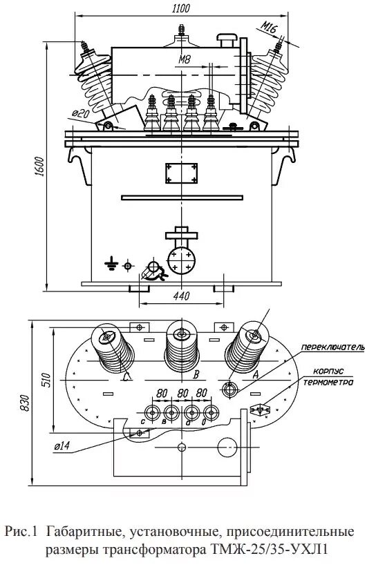
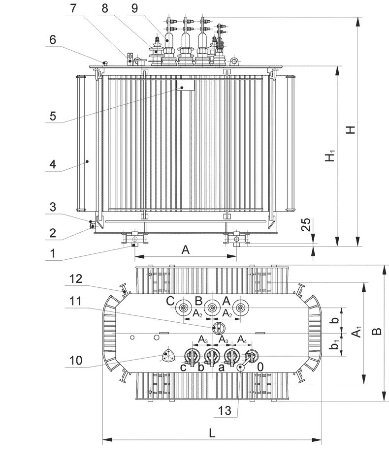
Тм расшифровка трансформатора