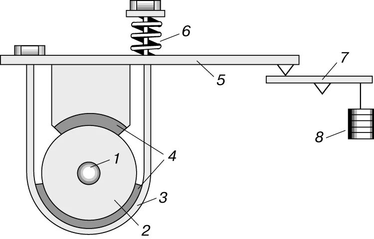
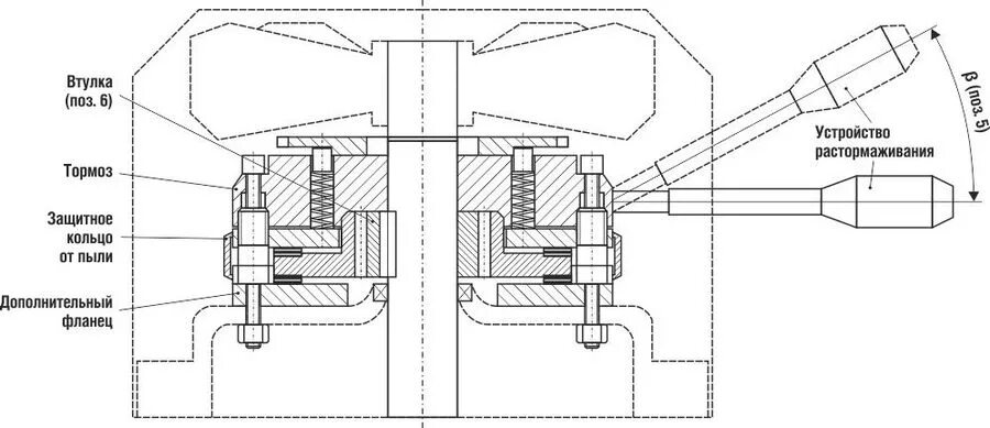
Торможение вала