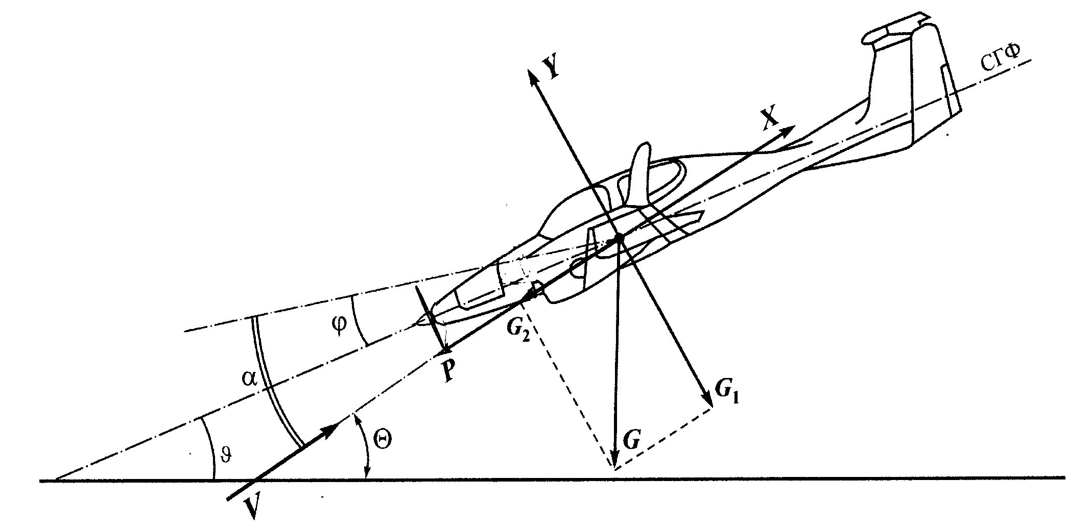
Траектория снижения самолета