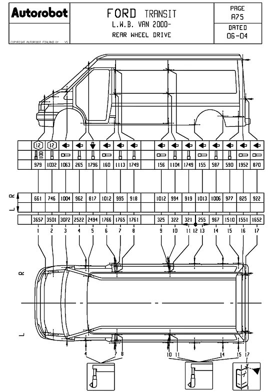
Transit размеры